Welcome Guest Search | Active Topics | Log In | Register

Incorrect part detail Options
66Mustang
#1 Posted : 30 May 2017 19:36:43

Rank: Beginner Level 1

Groups: Registered

Joined: 30/05/2017
Posts: 7
Points: -3
Location: UK
I notice that on part 75 the distributor cap HT or spark plug leads are incorrect for the proper firing order of the engine. Has anybody else noticed this? With all the great detail on this car I am surprised they have done that. Confused
davetwin
#2 Posted : 30 May 2017 20:10:16

Rank: Super-Elite
Publisher Medal: Featured Build of the MonthActive Service Medal: 500 post active service MedalPurple Medal: Super active service medal for 1000 postsOutstanding Build: An award for an outstanding buildBuild-Diary Medal: Build-Diary Medal of HonourRed Medal: Red Medal
Groups: Registered

Joined: 27/01/2014
Posts: 5,060
Points: 14,980
I am not quite sure what you, but then I am no engine guy. Could you post a picture to show what you are referring to
66Mustang
#3 Posted : 30 May 2017 20:48:39

Rank: Beginner Level 1

Groups: Registered

Joined: 30/05/2017
Posts: 7
Points: -3
Location: UK
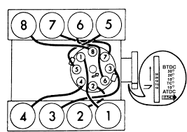
The distributor leads turns counter clockwise firing on cylinder 1 which is the first cylinder on the left as you look at the engine from the front. The leads are symetrical from the top to each side which suggests the firing order is 4-3-2-1-5-6-7-8, the correct firing order is 1-5-4-2-6-3-7-8. The configuration you have the engine would not run. The leads would cross over the top of the distributor cap and not come out evenly around the sides of the distributor cap which looks neat and tidy.
File Attachment(s):
20170529_194357.jpg (3,775kb) downloaded 85 time(s).
IMG_5828.JPG (386kb) downloaded 69 time(s).
66Mustang attached the following image(s):
images.png
davetwin
#4 Posted : 31 May 2017 20:09:55

Rank: Super-Elite
Publisher Medal: Featured Build of the MonthActive Service Medal: 500 post active service MedalPurple Medal: Super active service medal for 1000 postsOutstanding Build: An award for an outstanding buildBuild-Diary Medal: Build-Diary Medal of HonourRed Medal: Red Medal
Groups: Registered

Joined: 27/01/2014
Posts: 5,060
Points: 14,980
It took quite some head scratching to get my head around this even after you posted the picture. The majority of people would not even have noticed.

Unfortunately as detailed as models are these days you would be hard pressed to find any model 100% accurate hence why there is a industry dedicated to super detailing models.
StevieDisco
#5 Posted : 11 July 2017 17:13:42

Rank: Semi-Pro Level 1


Groups: Registered

Joined: 09/01/2017
Posts: 50
Points: 150
I noticed the incorrect firing order as soon as I saw the build photos for that issue. I assumed the design team that worked on the engine got lazy and figured nobody would notice. I was going to ask if anyone had tried wiring in the correct order and if the plug wires were long enough. If not then I would have to do some minor reworking.

On the subject of the engine...Can someone tell me what a 'gas recycling filter' is? (Issue #72). It shows mounted where the starter should normally be and it looks sorta similar to a starter.
StevieDisco attached the following image(s):
428 starter.jpg
"A picture is worth a thousand words but a model is worth a thousand pictures" - Harley J. Earl
davetwin
#6 Posted : 13 July 2017 00:07:02

Rank: Super-Elite
Publisher Medal: Featured Build of the MonthActive Service Medal: 500 post active service MedalPurple Medal: Super active service medal for 1000 postsOutstanding Build: An award for an outstanding buildBuild-Diary Medal: Build-Diary Medal of HonourRed Medal: Red Medal
Groups: Registered

Joined: 27/01/2014
Posts: 5,060
Points: 14,980
StevieDisco wrote:
I noticed the incorrect firing order as soon as I saw the build photos for that issue. I assumed the design team that worked on the engine got lazy and figured nobody would notice. I was going to ask if anyone had tried wiring in the correct order and if the plug wires were long enough. If not then I would have to do some minor reworking.

On the subject of the engine...Can someone tell me what a 'gas recycling filter' is? (Issue #72). It shows mounted where the starter should normally be and it looks sorta similar to a starter.


I would say that it is the fuel (gas) filter
70 Coupe
#7 Posted : 13 July 2017 21:59:12

Rank: Semi-Pro Level 1


Build-Diary Medal: Build-Diary Medal of Honour
Groups: Registered

Joined: 03/03/2016
Posts: 64
Points: 192
Location: Darfield UK
The gas recycling filter was a part of the emissions (smog) control equipment, there was one fitted to my 1:1 70 Coupe, (which was long since ditched as it cuts down on performance) although it wasn't mounted to the engine block, the one on the model is a bit of a mystery.....Confused
Hope this helps.....
Tony
StevieDisco
#8 Posted : 14 July 2017 14:47:00

Rank: Semi-Pro Level 1


Groups: Registered

Joined: 09/01/2017
Posts: 50
Points: 150
Thanks guys. I'm going to either scratch-build a starter or kit-bash one from one of the Lindberg kits (Ford Y-block) and mount it where the gas recycling filter goes. Since I'm already adding a starter relay then having a starter only makes sense.
"A picture is worth a thousand words but a model is worth a thousand pictures" - Harley J. Earl
rpmracing18
#9 Posted : 14 August 2017 04:58:28

Rank: Pro

Build-Diary Medal: Build-Diary Medal of Honour
Groups: Registered

Joined: 19/11/2016
Posts: 133
Points: 404
Location: North Carolina, USA
I noticed also there is no solenoid switch, no voltage regulator and no battery cable wires.
StevieDisco
#10 Posted : 14 August 2017 16:10:03

Rank: Semi-Pro Level 1


Groups: Registered

Joined: 09/01/2017
Posts: 50
Points: 150
rpmracing18 wrote:
I noticed also there is no solenoid switch, no voltage regulator and no battery cable wires.


I made my own and will also be adding the VR and battery cables.
"A picture is worth a thousand words but a model is worth a thousand pictures" - Harley J. Earl
StevieDisco
#11 Posted : 14 August 2017 16:11:47

Rank: Semi-Pro Level 1


Groups: Registered

Joined: 09/01/2017
Posts: 50
Points: 150
StevieDisco wrote:
rpmracing18 wrote:
I noticed also there is no solenoid switch, no voltage regulator and no battery cable wires.


I made my own and will also be adding the VR and battery cables.

StevieDisco attached the following image(s):
starter relay painted.jpg
"A picture is worth a thousand words but a model is worth a thousand pictures" - Harley J. Earl
rpmracing18
#12 Posted : 14 August 2017 21:04:13

Rank: Pro

Build-Diary Medal: Build-Diary Medal of Honour
Groups: Registered

Joined: 19/11/2016
Posts: 133
Points: 404
Location: North Carolina, USA
Wow, Cool!! Where can I find these items? Especiaaly the VR and solenoid? what are you going to use for cables?
Rich
StevieDisco
#13 Posted : 15 August 2017 12:54:14

Rank: Semi-Pro Level 1


Groups: Registered

Joined: 09/01/2017
Posts: 50
Points: 150
rpmracing18 wrote:
Wow, Cool!! Where can I find these items? Especiaaly the VR and solenoid? what are you going to use for cables?
Rich


Take a look at Post #10 in my Shelby Modifications. I made the starter relay from Evergreen tube and sheet. Hardware was 0-80 and 00-90.

Cable will be wire insulation (stripped away from the wire) with either a small eye-pin or rod-end inserted on the ends. See Post #37 to see the eye-pin version.

I haven't made the VR yet but it should be much easier due to it's simplified shape.
StevieDisco attached the following image(s):
Mustang VR.jpg
"A picture is worth a thousand words but a model is worth a thousand pictures" - Harley J. Earl
rpmracing18
#14 Posted : 18 August 2017 01:22:39

Rank: Pro

Build-Diary Medal: Build-Diary Medal of Honour
Groups: Registered

Joined: 19/11/2016
Posts: 133
Points: 404
Location: North Carolina, USA
Ok, The detail over on your shelby mod thread is simply amazing!!! I just don't have the patience to do any kind of extensive mods like that, I'm too old and my nerves and eyesight isn't there. Your skill is awesome!!!

If you were in the US, I'd pay you to build me a soleniod switch and a voltage regulator!!!!!

Thanks for sharing, can't wait to see your other detail workBigGrin
Users browsing this topic
Guest
Forum Jump  
You cannot post new topics in this forum.
You cannot reply to topics in this forum.
You cannot delete your posts in this forum.
You cannot edit your posts in this forum.
You cannot create polls in this forum.
You cannot vote in polls in this forum.

Powered by YAF | YAF © 2003-2009, Yet Another Forum.NET
This page was generated in 0.168 seconds.